Weboldalunk használatával jóváhagyja a cookie-k használatát a Cookie-kkal kapcsolatos irányelv értelmében.

Geberit Brenta mosdócsaptelep elemes, falsík előtti vezérlődobozzal keverő nélkül 116.173.21.1

Geberit
311.172 Ft (245.017 Ft + ÁFA)
Gyártó cikkszám: 116.173.21.1
Elérhetőség: Rendelésre
Kívánságlista Hogyan fizethetek?

Amennyiben kérdése van a termékkel kapcsolatban hívja kollégánkat a +3630-815-9597 számon!

Színinformation_mark
Fényes króm
311.172 Ft (245.017 Ft + ÁFA)

Azonnali segítség a vásárláshoz!

Hívja ügyfélszolgálatunkat, vagy írjon nekünk e-mailt.

Nyitvatartás: H-P 9:00 - 17:00

Leírás

Geberit Brenta mosdócsaptelep elemes, falsík előtti vezérlődobozzal keverő nélkül 116.173.21.1



Magasfényű krómozott, keverő nélkül

 




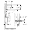
Vezetékes víz elvételéhez
Közterületen és közösségi helyiségekben történő alkalmazásra
Mosdóasztalokba vagy munkalapokba történő beépítésre
Hideg, meleg vagy kevert víz bekötéséhez
Rozsdamentes acél mosogatómedencékkel történő alkalmazásra
Nem alkalmas kis átfolyós vízmelegítőkhöz 
 
Jellemzők:




DIN 4109 szerinti I-es szerelvénycsoport
Automatikus öblítés működtetés
Infravörös felhasználó érzékelés
Önkalibráló infravörös érzékelő
Vandálbiztos
Térfogatáram korlátozás perlátorral
Hőmérséklet beállítása keverő csapteleppel (csak keverő csaptelepes kivitelnél)
A víz nem állítható be csak melegre vagy csak hidegre (csak keverő csaptelepes kivitelnél)
Elektromos energia ellátás elemmel
Az elem kb. 200 000 működtetéshez elegendő
Figyelmeztetés gyenge elem esetén
Beállítható energiatakarékos üzemmód
A gyors reakcióidejű, kétsugaras letapogatási technikának köszönhetően víztakarékos
A funkciók a Sevice Handy (személyzeti távirányító) segítségével beállíthatók és lekérdezhetők
Beállítható víztakarékos program
Beállítható közbenső öblítés program
Egyénileg beállítható folyamatos öblítés
Az öblítés működtetése a takarító személyzet részére szolgáló távirányítóval deaktiválható
Kézzel beállítható különböző funkciók
Beépített visszacsapó szeleppel
Működési egység beépített szűrőkosarakkal
 
Műszaki adatok:
Az elem típusa: Alkáli (1,5 V AA)
Üzemi feszültség: 3 V DC
Üzemi nyomás: 0,5–10 bar
Nyomáskülönbség HV/MV: ≤ 1,5 bar
Környezeti hőmérséklet: 1–40 °C
Tárolási hőmérséklet: -20 - +70 °C
Maximális vízhőmérséklet:  60 °C
Rövid ideig tartó maximális vízhőmérséklet: 90 °C
Térfogatáram mennyisége 3 bar esetén: 5 l/min
Mértékadó térfogatáram: 0,07 l/s
Mértékadó térfogatáramra vonatkozó minimális folyási nyomás: 0,5 bar
Közbenső öblítés beállítási tartománya: 1–168 h
Közbenső öblítés gyári beállítása: 24 h
Közbenső öblítés beállítási tartománya: 5-200 s
Közbenső öblítés gyári beállítása: 5 s
Alapanyag: Krómozott sárgaréz / műanyag
 
Csomag tartalma:



Mosdócsaptelep infravörös érzékelővel és csatlakozó tömlővel
Falsík előtti funkciódoboz vezérlőelektronikával, működési egység és elemtartóval
Flexibilis csövek 3/8"
Perlátorkulcs
Rögzítési anyag














Prémium csaptelep a Szaniter és Klíma Centertől

Sokan kérdezik, hogy mitől válik egy csaptelep prémium termékké? ... A gyártók évtizedes tapasztalattal a hátuk mögött fejlesztik hosszú éveken keresztül azokat a megbízható mechanikákat, ami például a Geberit Brenta mosdócsaptelep elemes, falsík előtti vezérlődobozzal keverő nélkül 116.173.21.1 termékünkben is megtalálható. Egy csaptelepet hosszú távra (legalább 5-10 évre) vásárol az ember, így jogos az elvárás, hogy a tervezett élettartama alatt megbízhatóan és hibátlanul működjön. Valójában ez a prémium csaptelepek legnagyobb előnye: nem kell fél évente cserélni őket, miközben akár évtizedeken keresztül is korszerű marad a stílusuk. Mi azt javasoljuk, hogy jól átgondoltan válasszon csaptelepet, továbbá mindenképp prémium gyártók termékei közül válogasson. Nálunk kizárólag ilyen csaptelepeket talál.

Geberit - a piacvezető minőség

A Geberit az európai épületgépészeti piac abszolút piacvezető szereplője, de fürdőszobaberendezéseik és kerámiáik is jelentős szerepet töltenek be a termékpalettájukban. Fókuszukban a fenntarthatóság áll, egyfajta hitvallásként tekintenek rá. Innovatív Geberit Brenta mosdócsaptelep elemes, falsík előtti vezérlődobozzal keverő nélkül 116.173.21.1 termékük a legfelsőbb minőséget képviseli, miközben az Ön pénztárcájának is kedvez. A Geberit kétségtelenül az egyik legbiztosabb választás ha otthonát minőségi, tartós és rendkívüli módon innovatív termékekkel szeretné felszerelni.

Paraméterek

Magasított mosdó csaptelep Nem
Elhelyezés Álló mosdó csaptelep
Működtetés Infrás csaptelep

Szállítási információ

Általános kézbesítés 2-5 munkanap amennyiben a megrendelt termék van raktáron!

Előfordulhat, hogy a megrendelés leadásának időpontjában az adott termék raktáron lévő ként jelenik meg, de az esetleg már elfogyott, és csak a frissítések átfutási ideje miatt tűnik raktáron lévőnek, ebben az esetben a Vevő telefonos értesítést kap és eldöntheti, hogy eláll-e a rendeléstől!


Ingyenes kiszállítás kizárólag a megjelölt termékeinkre és 50.000 Ft feletti vásárlás esetén, Budapest körzetére vonatkozik! Ingyenesen szállítható termék mellé további olyan terméket rendel, aminek a szállítása nem ingyenes, szállítási díját értelemszerűen felszámoljuk. Kiszállítás a megadott szállítási címre főszabály szerint a főbejáratig / kapuig történik, az emeletre való felhordást a szállítási költség nem tartalmaza! Weboldalunkon kiválasztott és megrendelt terméket a Kereskedő a Megrendelőnek e-mailban küldött rendelési visszaigazolás után, a megrendelést követő 2-5 munkanapon belül (amennyiben a megrendelt termék raktáron van) a megrendelés során jelzett szállítási címre, házhoz szállítja a szállítmányozó cég (DPD. Tel: /06 1/ 5016200), Pannon Xp Kft. (Tel: /06 1/ 261-8472) vagy saját céges autónk igénybevételével. Kiszállítás a megadott szállítási címre főszabály szerint a főbejáratig / kapuig történik, az emeletre való felhordást a szállítási költség nem tartalmaza!

Törékeny termékek szállítását, CarryAll Hungary Kft. (ugyfelszolgalat@carryall.hu) szállító céggel végezzük a kellemetlenségek elkerülése végett. Az MPL szállítmányozó cég kiszállítása esetében a várható szállítási idő (amennyiben a megrendelt termék raktáron van) elérheti a 9-14 munkanapot is. A termék fuvardíja függ a termék nagyságától, árumennyiségtől és a szállítási cím távolságától. Kiszállítás a megadott szállítási címre főszabály szerint a főbejáratig / kapuig történik, az emeletre való felhordást a szállítási költség nem tartalmazza! A termék beérkezéséről, átvételéről kollégáink folyamatosan tájékoztatják Önt a megadott telefonszámon vagy e-mail címen. Fizetési lehetőség, Készpénzzel, Banki előre utalással, vagy Bankkártyával / az oldalunkon OTP Simple felületen/. A számlát minden esetben a termékkel együtt kapja meg a vásárló.

RENDELÉS LEMONDÁSA, ELÁLLÁS: Ezeket az Általános Szerződési Feltételekben rögzítettük (ÁSZF).

HÁZHOZ SZÁLLÍTÁSNÁL MIRE KELL FIGYELNI!

Nem szeretnénk vásárlóinknak kellemetlenséget és bosszúságot okozni, ezért szeretnénk tájékoztatni önöket, hogy a megrendelt termék átvételénél mire figyeljenek!
Feladás előtt Cégünk meggyőződik arról, hogy a termék sértetlen és minden tartozéka a csomagban van, csak ez után kerül a szállító cég kezébe. Innentől kezdve az Ő kezükben van, hogy a legnagyobb gonddal és körültekintéssel szállítsák ki a kívánt helyre. Sértetlen csomagolás esetén is lehet a kartondobozban, szállítás közben megsérült termék. A szállító cégeknek gyorsan kell dolgozniuk, hogy minél több árut eljuthassanak céljukhoz. Jellemző az "itt írják alá és már rohanok is tovább" mentalitás. Ne essenek bele ebbe a csapdába! Minden esetben a futár jelenlétében bontsák ki a csomagot és győződjenek meg a sértetlenségéről, hiánytalan meglétéről. Ha ugyanis hagyjuk, hogy a futár elmenjen és utána bontjuk ki a csomagot, akkor bizonyíthatatlan, hogy nem a távozása után sérült, tört el!
Sajnos ebben az esetben a vásárló az akinek a kárt viselnie kell! Ezért nagyon fontos, hogy minden esetben a futár jelenlétében bontsuk ki a megrendelt csomagot!